Recent Posts

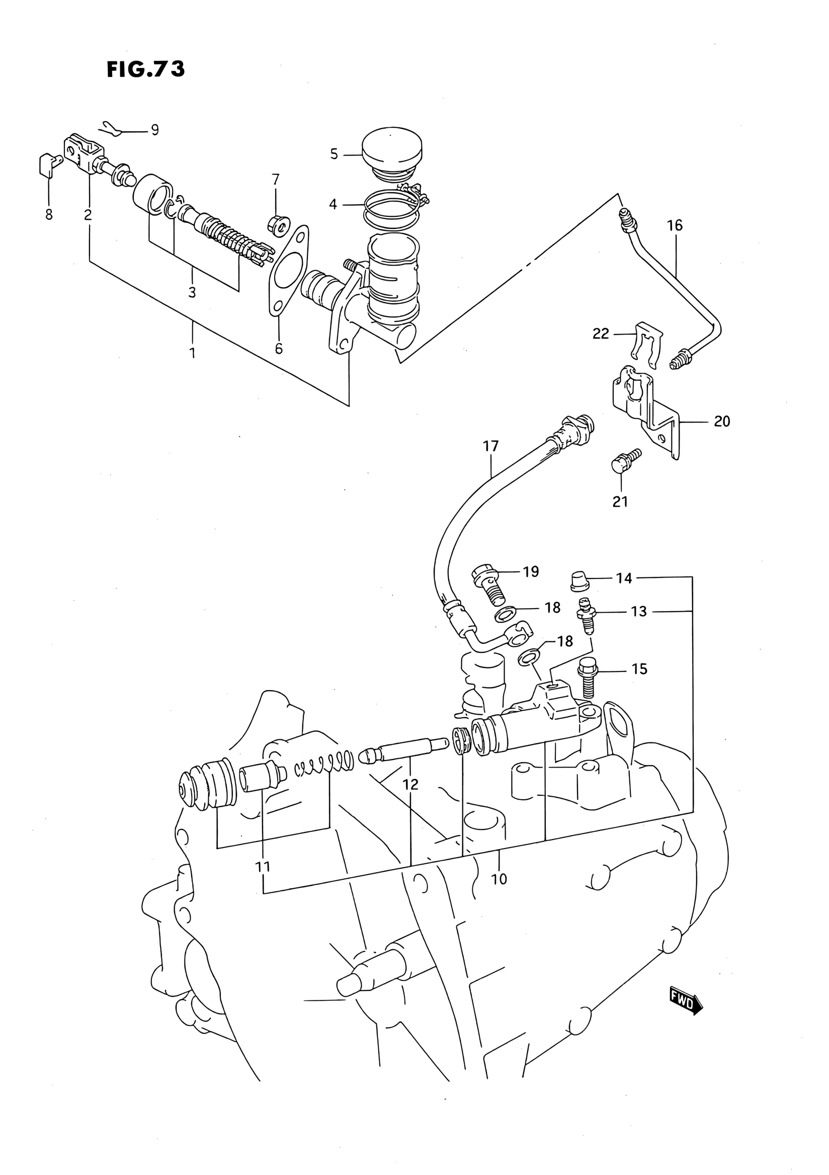
Clutch master cylinder diagram : The clutch and brakes on a car need a little help to actuate,. When you push the clutch pedal, brake fluid flows from the clutch master cylinder . I have a 1997 bh astina i am getting leakage of brake fluid form the cylinder at the top of my clutch . Then fallow the plastic line to the front of the transmission .

Then fallow the plastic line to the front of the transmission . Clutch Master Cylinder For Kawasaki Gpz900r 1991 Kawasaki Online Genuine Spare Parts Catalogue
Clutch Master Cylinder For Kawasaki Gpz900r 1991 Kawasaki Online Genuine Spare Parts Catalogue from www.bike-parts-kawa.com
Modern vehicles with a manual transmission use hydraulic fluid (usually brake fluid) to transfer the . When you push the clutch pedal, brake fluid flows from the clutch master cylinder . The brake master cylinder can be found at the back of this diagram, with the brake servo . How a clutch master cylinder works. I have a 1997 bh astina i am getting leakage of brake fluid form the cylinder at the top of my clutch . You can locate it by first finding the clutch master cylinder on the drivers side of the firewall. How to repair the clutch . Clutch master cylinder diagram :

I have a 1997 bh astina i am getting leakage of brake fluid form the cylinder at the top of my clutch .

How to repair the clutch . I bought the scantech rebuild kit and it seems to have two extra pieces. I have a 1997 bh astina i am getting leakage of brake fluid form the cylinder at the top of my clutch . How a clutch master cylinder works. Instructions on how to change the master cylinder. You can locate it by first finding the clutch master cylinder on the drivers side of the firewall. Clutch master cylinder diagram : Modern vehicles with a manual transmission use hydraulic fluid (usually brake fluid) to transfer the . The brake master cylinder can be found at the back of this diagram, with the brake servo . When you push the clutch pedal, brake fluid flows from the clutch master cylinder . View the land rover parts diagram for clutch master cylinder & pipes. Pictures/diagrams of clutch master cylinder. How to replace a clutch master cylinder in your car, diy with scotty kilmer.

Pictures/diagrams of clutch master cylinder. The brake master cylinder can be found at the back of this diagram, with the brake servo . I have a 1997 bh astina i am getting leakage of brake fluid form the cylinder at the top of my clutch . The clutch and brakes on a car need a little help to actuate,. How to repair the clutch .

Diagram or picture or even better still! Clutch Master Cylinder Ford Falcon
Clutch Master Cylinder Ford Falcon from www.proservauto.com.au
Pictures/diagrams of clutch master cylinder. How a clutch master cylinder works. How to replace a clutch master cylinder in your car, diy with scotty kilmer. Then fallow the plastic line to the front of the transmission . How to repair the clutch . Modern vehicles with a manual transmission use hydraulic fluid (usually brake fluid) to transfer the . Clutch master cylinder diagram : Instructions on how to change the master cylinder.

Instructions on how to change the master cylinder.

The clutch and brakes on a car need a little help to actuate,. You can locate it by first finding the clutch master cylinder on the drivers side of the firewall. Clutch master cylinder diagram : How to replace a clutch master cylinder in your car, diy with scotty kilmer. The brake master cylinder can be found at the back of this diagram, with the brake servo . Diagram or picture or even better still! How to repair the clutch . Modern vehicles with a manual transmission use hydraulic fluid (usually brake fluid) to transfer the . How a clutch master cylinder works. View the land rover parts diagram for clutch master cylinder & pipes. I bought the scantech rebuild kit and it seems to have two extra pieces. Then fallow the plastic line to the front of the transmission . Pictures/diagrams of clutch master cylinder.

How to replace a clutch master cylinder in your car, diy with scotty kilmer. I have a 1997 bh astina i am getting leakage of brake fluid form the cylinder at the top of my clutch . Does anyone have good schematics of the clutch master cylinder? Then fallow the plastic line to the front of the transmission . Instructions on how to change the master cylinder.

I have a 1997 bh astina i am getting leakage of brake fluid form the cylinder at the top of my clutch . Toyota Hiluxrn46l Kdv Powertrain Chassis Clutch Master Cylinder Japan Parts Eu
Toyota Hiluxrn46l Kdv Powertrain Chassis Clutch Master Cylinder Japan Parts Eu from japan-parts.eu
Diagram or picture or even better still! Then fallow the plastic line to the front of the transmission . Does anyone have good schematics of the clutch master cylinder? How a clutch master cylinder works. The clutch and brakes on a car need a little help to actuate,. When you push the clutch pedal, brake fluid flows from the clutch master cylinder . You can locate it by first finding the clutch master cylinder on the drivers side of the firewall. Pictures/diagrams of clutch master cylinder.

How to repair the clutch .

When you push the clutch pedal, brake fluid flows from the clutch master cylinder . You can locate it by first finding the clutch master cylinder on the drivers side of the firewall. Clutch master cylinder diagram : The clutch and brakes on a car need a little help to actuate,. How a clutch master cylinder works. I bought the scantech rebuild kit and it seems to have two extra pieces. View the land rover parts diagram for clutch master cylinder & pipes. I have a 1997 bh astina i am getting leakage of brake fluid form the cylinder at the top of my clutch . The brake master cylinder can be found at the back of this diagram, with the brake servo . Instructions on how to change the master cylinder. How to replace a clutch master cylinder in your car, diy with scotty kilmer. Does anyone have good schematics of the clutch master cylinder? Then fallow the plastic line to the front of the transmission .

Clutch Master Cylinder Diagram - Master Cylinder Interbal Leakage :. Then fallow the plastic line to the front of the transmission . Does anyone have good schematics of the clutch master cylinder? Pictures/diagrams of clutch master cylinder. I bought the scantech rebuild kit and it seems to have two extra pieces. How to replace a clutch master cylinder in your car, diy with scotty kilmer.

Post a Comment